Proč je tenhle blog o divné rozpláclé žábě
Bo jsem si jednu málem kua koupil. Poté co jsem nevydržel pročítat návody na opravy všech možných detailů i podstatných funkčních částí… chápete? Ne? No ideální projekt auto, bezedná černá díra, upír z feratu, autíčkářův sen :-) Někde v poslední fázi jsem se uhodil do hlavy a přišel k rozumu, takže jezdím v EV, jsem s tím naprosto ok a můžu vám psát o duchu dob dávno minulých…
Porsche 928 začalo svůj životní cyklus v letech 1978 a pokračovalo evolucí designu a výkonu až do roku 1995 jako model GTS/GTA (pro nás, co máme zrovna ponožky – bylo to ruka, ruka, noha, kus nohy…5+5+5+3 dlouhých let). Poslední léta se jednalo opravdu jen o desítky prodaných vozů. Na model, který měl sesadit krále z trůnu, to byla celkem bída… nebo ne?
(Měla 928 opravdu nahradit 911? Ano i ne, protože jde o úhel pohledu dvou různých ředitelů Porsche. Níže je ofiko vyjádření, které mi dává smysl – 928 pro klientelu, která chce hitech/top-notch produkt, 911 pro racionálně uvažující (a navíc díky levnější produkci generující větší zisk než technologicky dražší 928). Takže 911 dostala zelenou pokračovat ve vývoji a 928 byla paralelní větev/produkt pro jinou cílovou skupinu, která nakonec uschla. Přesto prošlapala cestu vodou chlazeným V8, Panameře a hi-tech fíčurám.)
První řada vyjela s 2 ventilovým SOHC 4.5 V8 240 PS EU / 219 PS US verze (dokonce byl ve hře 90st V10 4,6 z VW 5-válce), což nebylo nic převratného, ale je třeba brát v potaz tehdejší ropnou krizi a konkurenci (Mercedes SL, který vážil o podstatných 340 kg více).
Automobilka vsadila na řadu svých prvenství – motor vpředu, V8, vodou chlazený, transaxle, zadní náprava se reflexní geometrií, flexibilní nárazníky v barvě (což dnes může znít jako so what? ale tehdy nikdo neměl barvu, která by vypadala stejně a držela na hliníku, kovu a plastu, takže se musela nově vyvinout), koncept 4 míst (ok, spíše stále 2+2) a relativně velký zavazadlový prostor. Design pochází od Wolfganga Möbiuse, pod dohledem Anatola Lapina (závodník a designer mj. v GM, v Porsche měl na starost vodou chlazené modely 928, 924, 944).
V roce 1982 ustanovila sériová 928S 24-hodinový rekord na okruhu Nardo (ITA) pro produkční vozy, kdy i přes 30 tankovacích zastávek dosáhla na průměrnou rychlost 251 km/h. Nechci to dramatizovat, ale “250 průměrná” je jakože jedete na plný plyn (Vmax 280?) celý den/noc a nic se vám nepodělá. To je jen takové rýpnutí do hrdinů z D1, kteří “zaručeně” dávají Pha-Brno za hoďku v OktěTDi :-)
V roce 1984 se účastnila závodů v Le Mans, nicméně tým kvůli potížím s motorem odjel pouze 255 kol v omezeném nasazení (což bylo cca 70.8% z 360 kol Porsche 956, které vyhrálo celkově). I tak to stačilo na 22. celkovou a 3. pozici ve skupině B.
V roce 1986 zvětšili objem na 5,0 litrů (označení 928S), přidali 2x DOHC rozvody, výkon se posunul na 300-320 PS a šlo tehdy o nejrychlejší sériově vyráběný automobil s Vmax 277 km/h.
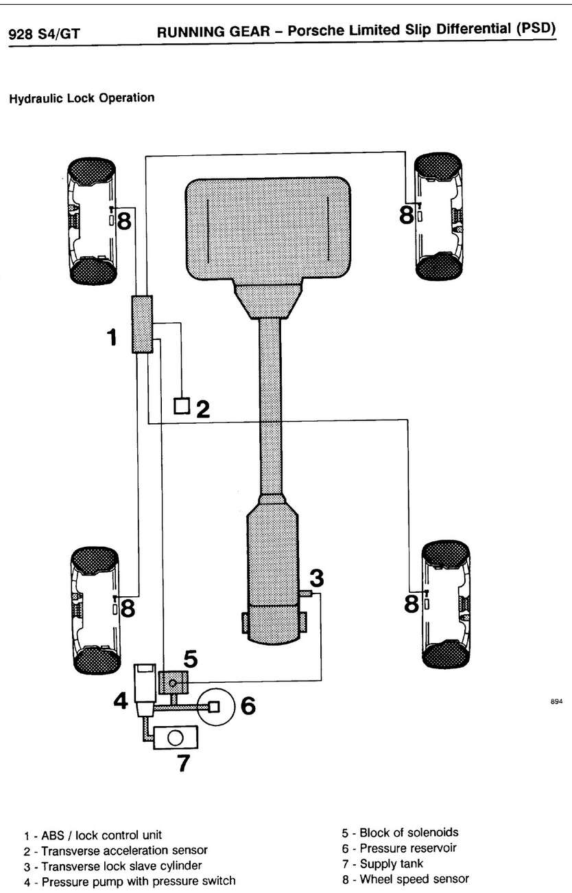
Od roku 1992 se objevuje model 928 GTS a S4 o objemu 5,4 a výkonem 345 PS, zvenku jsou patrná jiná zrcátka, prolisy na bocích, vytažené zadní blatníky a zvětšené přední brzdy. Model má standardně 0-100% variable ratio limited-slip called PSD (Porsche Sperr Differential, na obrázku jen pro fanoušky techniky “jednoduchost” onoho provedení) nebo v ClubSport verzi obvyklý lamelový LSD se 40% svorností od ZF.
Jeden S4 SC prototyp (“H53”) byl experimentálně vybaven PDK (double-clutch transmission), kterou již tehdá testovali na závodních autech.
V roce 1993 si v Porsche řekli dost – 11 let starý rekord 928S je třeba vylepšit, protože máme přeci 928 GTS… takže nová hodnota průměrné rychlosti je 265 km/h za 24 hodin včt. zastávek na tankování a výměnu jezdců. Jakože to auto valilo stabilně 3kila? :-)
V roce 1995 se vybavené modely GTS dostávají nad hranici 100tis USD, což z nich činí jedny z nejdražších aut na silnici, resp. na showroomu, protože prodeje se prakticky zastavily s 77 dodaných aut do US v roce 1995. Celkem bylo vyrobeno 61 056 vozů, z toho 2831 v provedení GTS.
Nějaká review si dohledáte podle svého. Obecně jde o GT, které je raději na dálnici v levém pruhu, než na okresce na zadních světlech Lotusu. Měl jsem možnost se svézt v S4 v automatu i manuálu a osobně mi víc k charakteru ladil ten automat. Byť by je jen 4 stupňový, nemáte pocit, že auto nejede (má dlouhé kvalty a motor spíše “tažně působí” než rychle a zběsile akceleruje, přesto ručka rychloměru letí svižně doprava), spíš jen tak plavně překonává vzdálenosti.
U manuálu jsem cítil, že to auto určitým způsobem trápím (nebylo teda zrovna ve 100% elektronické kondici, tak to nechci nějak směrodatně hodnotit), že se tomu medvědu pod kapotou nechce z brlohu ven. Co musím určitě vyzdvihnout jsou brzdy, z těch jsem měl asi nejlepší feeling co jsem kdy jel (byly nové a správně zajeté), kdy máte pocit absolutní kontroly, síly, dávkovatelnosti… za mě definice brzd.
Kinematiku náprav nemohu objektivně posoudit, protože jsem s oběma vozy najel pár km, ale přišlo mi, že útlum je spíše komfortní, ve vyšší rychlosti na okresce, teď to napíšu slušně… jemně filtroval stav českého povrchu silnice. V autě jsem neměl pocit, že bych si jej navlékl (což byl třeba případ Alpine A110 nebo Bmw M3), spíš jsem byl pozorovatel na návštěvě, kde se vše odehrávalo okolo mne a já jen náhodou držel volant.
Vývoj probíhal podle všeho opravdu důkladně. Hliníková karosérie vážila pouhých 151 kg. (Dneska by tahle fotka byla tak na pracovní úraz nebo žalobu zaměstnavatele? )
Zadní náprava typu Wiessach (mající za úkol eliminovat přetáčivost při ubrání plynu – taková ta záležitost, kdy po přecení řidičských schopností uprostřed zatáčky dojde na estetickou korekci spodního prádla), která později našla uplatnění i u modelu 993 (v pozměněné podobě).
Rovněž je patrná tzv.torque-tube spojující spojku/měnič s převodovkou/diferenciálem nad zadní nápravnicí. Zde se musí pečlivě sladit vůle flex-plate, jinak dojde k odírání hlavních ložisek kliky (axiální směr).
Optimistiský nákres umístění 4 Igráčků do karosérie, což se jaksi nepotkává s realitou. Je až s podivem, jak je v tom autě málo místa, na to jak je veliké.
Dobové fotografie z testování prototypů a výroby…
Kromě standardních modelů existuje několik velmi specifických exemplářů, např. o 20 cm prodloužený model pro šéfa automobilky Ferryho Porsche k jeho 75. narozkám. Congrats, boss! Teď už si vzadu sednou i lidi co mají nohy. Pozorný čtenář registruje i speciální nevýklopné vypouklé kryty světel s projektory.
nebo 4 dveřová varianta (ještě se bude hodit, co… Panamera?)
či pokus o integraci dětské autosedačky doprostřed vozu nad středový tunel. Tedy… nechci být škarohlíd, ale kdo by se tam šplhal a kam by dal… třeba něco jako… hlavu? Ale možná byla ve vývoji aerodynamická kopule ve skle/střeše pro zadního střelce…
Bizár detaily
Potkávací světla se vyklápí z karosérie pomocí tyče a servo motoru nepodobnému tomu od stěračů. Kaplička přístrojů se naklápí spolu s volantem. Střešní okno je směšně malé.
Táhlo víka kufru je vlevo vedle sedadla. Na zadní sedačky si nesedne nikdo, kdo může chodit. Středová schránka je chyták – vejde se vám tam možná tenký mobil. Rezerva je určena k nafouknutí – po těch letech těžko říct, jestli jí chcete svěřit svůj život. Chlazení motoru má el. ovládání žaluzií pro zmenšení aero odporu. Vnitřní zámek dveří je ovládán otočnou lunetou na tapecáku. Zadní stěrač má paralelogram pro větší stíranou plochu skla, motorek je na karosérii a mechanismus je poháněn násuvným přechodem. S4/GT verze mají LSD s proměnným účinkem – využívají tlaku/brzdové kapaliny. A ty interiéry… ani RAL, ani materiál, ani LSD vás nezastavilo :-)
V lepší společnosti
Steve Jobs (zakladatel mj. Apple, na foto s 944, protože si kupoval nové auto každých 6 měsíců, proto asi není fotka s 928),
Stanley Kubrick (režisér, Full metal jacket, Vesmírná odysea), Tom Selleck (herec), Martina Navratilova (tenistka), Arnold Schwarzenegger (herec), Dennis DeYoung (Styx), Prince (purple one), Ben Johnson (sprinter), Alan Jones (závodník), Hans Joachim Stuck (závodník).
Ve filmu Risky Business se Tom Cruise (v teenage komedii z roku 1983) snaží dostat holky do postele, dojde na automobilovou honičku, utopení auta v jezeře a o mnoho dolarů později k záchraně jedné ze 3 použitých 928 k natáčení, během něhož se Tom naučil používat třetí pedál v US spec (4,5 V8 s 222 koni).
Jeremy Clarkson se o P928 vyjádřil že je “as far as I’m concerned the 928 is alright”, což může být pravděpodobně to nejvyšší ohodnocení, které kdy německému autu dal. Pro citlivé povahy – na video si připravte kapesník, dojel s ní říct sbohem svému otci.
Alternativní využití
Když v Porsche potřebovali testovací mulu pro měření hlučnosti pneumatik, došlo k rychlé selekci 928 na základě nehlučné převodovky, motoru se značnou tažnou silou v nízkých otáčkách a již tak tiché celé sestavě (aero, transaxle).
Stačilo jim jen celé auto ucpat dalšími tišítky (výfuk, sání, motor, interiér) :-)
A Restomods už začínají postihovat i dvacátouosmou.
Jaké je tedy dnes
Celkový feeling je rozporuplný – zvenku má S4/GT sexy křivky, na oem 911 R17/18 je docela hot, černé fólie zakrejí většinu viditelných nedostatků, žabí oči vypadají pořád divně zajímavě… Ale uvnitř je cítit taková ta patina veterána (někdo by to mohl nazvat hnijícím kobercem, plesnivým molitanem a rozpadávající se gumou), při odkrytí pojistek vidíte, kolik světelných let automobilový průmysl mezitím urazil a většina pohledových částí interiéru je degradována teplem do křivek.
Elektronika je zralá na kompletní repas, veškeré tištěné spoje (digi hodiny, přístrojovka, ŘJ motoru či ABS) jsou ne/tikající bomba, plastové díly jsou křehké a rozpadají se (pohon tacho, odjištění víka kufru, různé klipy uvnitř), vypínače mají omezenou životnost, funkčnost klimatizace je o celkové výměně, motor je náchylný na zanedbanou údržbu a preventivní úkony (napnutí řemenu, vodní pumpa, předpětí systému Transaxle…bohužel ceny dílů/těsnění jsou poněkud nesmyslné), podvozek vyžaduje precizní nastavení světlé výšky a geometrie. Zpuchřelé gumové těsnění okolo dveří/oken vás vyjde jako exotická dovolená pro 4 členou rodinu k moři (a tím nemyslím modrejstyl Egypt ve slevě) a ještě musíte počkat, až je objednávek dost a fabrika je zadá do výroby.
Stojí to za to?
U S4/GT se 320PS+ v automatu bych dokázal odpustit (cenová hladina 20-40k Euro), že žere 15-20 a ve srovnání s dnešní turbo/EV produkcí moc nejede… ale u ošklivých SOHC s rozpadlým interiérem mi to žádný smysl nedává (nejednou za něj chtějí prodejci 10-20k Euro), protože snaha dostat ten vrak na úroveň pohledného a spolehlivého veterána bude konkurovat cenové hladině bytu v krajském městě.


















































Dooby
2. 10. 2024, 21:46Díky za bezva článek. Jeden z hrdinů mého dětství. Jako kluk jsem ji viděl poprvé v NDR u Baltu mezi Trabanty, Žiguli, Š 100 a Wartburgy-tenkrát auto jak z jiného světa, sci-fi....(rodina z NSR na návštěvě). Zvenku pro mě atraktivní dodnes, ale jak říkáš na konci, asi si nekazit vzpomínky. Nikdy jsem v tom teda nejel.
Sato
4. 10. 2024, 19:38Velmi zaujimave diky!
Super je ta cast o obmedzenej zivotnosti jednolivych komponent, po nejakej dobe je to uz hodne o srdicku a racionalita ide stranou. Akurat predvcerom som po prvy krat (staticky) sedel v E30ke, a fakt zavidim ludom co na to teraz maju moznosti, priestory a cas. O dalsich 10-15r ked ja snad budem v tej faze zivota to uz budu fakt stare veterany kde zrepasovst kde co bude fakt problem.
tomas_jedno
7. 10. 2024, 14:10Já jsem S4 AT vlastnil, vlastně to bylo poslední Porsche z rodiny TransAxle které jsem chtěl zažít. Auto působilo oproti 944 a 924 mnohem dospěleji a řidičsky bylo jistější na limitu. Pasivní natáčení zadní nápravy zde udělalo hodně (Weissach). Vlastně mi v tom ten čtyř-kvalt vůbec nevadil, protože porce Nm. je více než dostačující a to auto není na vymetání serpentýn a úzkých vraceček. Servis je však jiná sranda, když srovnám s 944 či 924. Motor jako takový u S4 není problematický, vyjma komponent které trpí stářím (těsnění, gumy, hadičky atd.). Rozvody jsou nutnost co 5 let a servis TransAxle je na celý jeden článek. Když to porovnám se SECačkou od MB, což byl tehdy konkurent, moc srovnat se to nedá. e31 je povahově 928 hodně blízko, ale vytříbené jízdní vlastnosti to u e31 tak trochu chybí. Je to víc GT než sporťák.
Jimi
8. 10. 2024, 10:11Celkem se vydařil na tohle téma restomod od Nardone Automotive. Citlivě zmodernizované proporce a detaily. Hodně povedené.
StreetPro
8. 10. 2024, 13:58https://www.topgear.com/car-news/video/stunning-eu480k-v8-porsche-928-restomod-now-sounds-a-nascar
Díky .-)
Moses
24. 10. 2024, 22:49Krasny detailny clanok ale nespomenut Jiriho Kuhnert-a...
StreetPro
3. 1. 2025, 09:51