Jenže co když se toto prokleté písmeno objeví u modelu, jenž si elektrifikaci zkrátka a dobře nezaslouží? Třeba právě teď se objevilo u Chevroletu Corvette a celý svět je z toho mírně řečeno vzhůru nohama. Začíná to totiž pomalu vypadat, že místo vymodlené Corvette s motorem uprostřed dostaneme Corvette, která si do kafe z farmářského trhu sype hnědý cukr a nosí koženkové sandály.
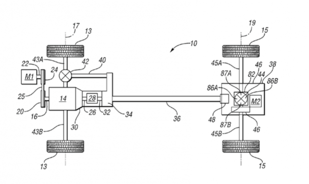
Celý poprask vyvolal registrovaný obchodní název Corvette E-Ray spolu s patentovým nákresem vyobrazujícím dvě pohonné jednotky. Lze předpokládat klasický spalovací motor (menší než obří atmosférický osmiválec) umístěný vpředu a elektromotor s balíkem baterií na zadní nápravě. Druhou variantou je potom spalovací motor uprostřed a elektromotor na přední nápravě, pohánějící přední kola.

A proč to Chevrolet všechno dělá? Důvod je jednoduchý. Pro nehybridní sporťáky nebude na trhu brzy místo. GT-R má být v příští generaci hybrid, Porsche vypouští plně elektrický model, BMW již ukázalo světu i8 a pro Corvette to byla jen otázka času. V současnou chvíli nezbývá než čekat do konce roku 2016, kdy se snad objeví první opravdové informace o chystané generaci Corvette C8.





Aleš
22. 12. 2015, 20:42Dalo se to bohužel čekat
PS. Myslel jsem že už jsem vyděl hodně ale tohle mě upřímně vyděsilo. SLS AMG od Mansory
http://2.bp.blogspot.com/-MXxphgdI1bc/TcPfcD8T5uI/AAAAAAAAANM/vGFcihz59gg/s1600/mansory-mercedes-sls-amg-cormeum.jpg
Knightrider
24. 12. 2015, 08:08Ach jo. Tak uz i moje modla jmenem Corvette? Ale ono je to asi jedno. Pocitam, ze za 20 let uz se budeme v autech jen vozit a ridit je bude pocitac a pak uz jen budeme vzpominat na to, jaky to bylo, ridit si sami svoje hracky na ctyrech kolech. :-(